Caracteristici
- Taisuri de inalta calitate cu carburi din tungsten pentru durabilitate si rezultate de taiere fiabile
- Designul frezei impiedica reculul, limitand grosimea aschiilor produse
- Tija cilindrica compatibila cu masinile de frezat
- Pentru realizarea marginilor decorative pe rafturi si profile de rame in lemn moale/tare si in materiale compozite
- Rulmentul cu bile permite ghidarea usoara fara aparatoare laterala
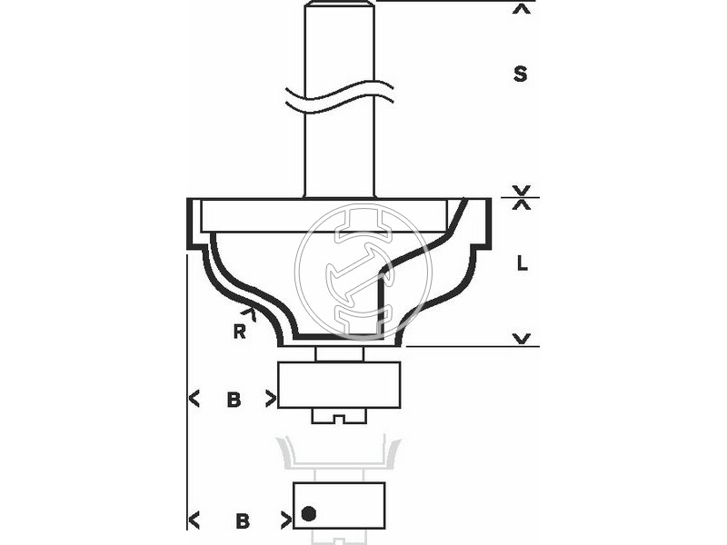
Date tehnice
- Tija mm: 8
- Raza (R1) mm: 4,8
- Diametru (D) mm: 35
- Lungime de lucru (L) mm: 14
- Lungime totala (T) mm: 57







