Caracteristici
Zona lunga de dilatare
- Zona lunga de dilatare asigura o distributie uniforma si fiabila a tensiunilor in substrat.
Element de fixare cu design inovator – guler de apasare
- Rigiditatea mai mare a gulerului inseamna o sustinere mai buna a materialului termoizolant.
Ax intarit cu fibra de sticla
- Asigura o buna rezistenta in timpul instalarii. Forma capului cuiului faciliteaza montajul si etanseaza conexiunea dintre manson si stift.
Domeniu de utilizare:
- Pentru fixarea spumei de polistiren
Aplicabil: caramizi solide din argila, caramizi silicat de calciu, blocuri poroase, beton celular autoclavizat
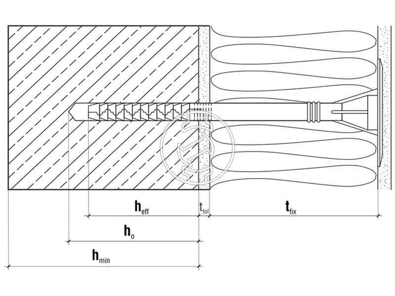
Date tehnice
Diametrul diblului: 10 mm
Lungime diblu: 300 mm
Materialul cuielui: plastic
Ambalare: 100 bucati/pachet









